潘集区民政局行政许可流程图

发布时间:2025-04-15 10:12信息来源:潘集区民政局文字大小:[    ] 背景色:       

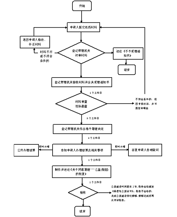
行政许可流程图

1.社会团体成立、变更、注销登记及修改章程核准

 

 

 

2.民办非企业单位成立、变 更、注销登记及修改章程核准

3.宗教活动场所法人成立、 变更、注销登记

4.慈善组织公开募捐资格审

5.殡葬设施建设审批

 

 

    正在更新中...
为进一步了解掌握社会公众对政策执行效果的反馈与评价,请您对该政策的制定及执行提出宝贵的意见或建议。我们将及时收集并分析,共同助力政策不断完善。
  • 姓  名:

  • 联系方式:

  • *内  容:

  • *验 证 码: